基本参数
- 产地广东
- 品牌
- 产品型号
- 产品操作
- 产品应用范围
- 产品材料等级
- 产品表面处理
产品简介:
产品详情:不锈钢A21W-16P安全阀
不锈钢A21W-16P安全阀
品牌:永一,罗浮,天正,万能,南一
型号:A21W-16P
压力:1.6,2.5MPa
材料:铸钢,不锈钢
围观人数:475
我公司提供定制服务>点击检视<
产品详情
产品详情:
A21F,A21H-C型适用于工作温度≤200℃的空气,氨气,石油气等介质的装置或管道。a21w-p,r型适用于腐蚀性气体或腐蚀性气体的装置或管道。温度≤200℃的液体,超压保护装置。KA21Y型适用于温度≤100℃的液化石油气。
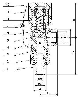
主要零件材料:
NO。
零件名称
A21H-C/A21F材料
A21W-P/A21F-P材料
A21Y-R材料
1个
管接头
20
1Cr18Ni9Ti
1Cr18Ni12Mo2Ti
2
管接头螺母
35
2铬13
1Cr18Ni9Ti
3
阀座
35
1Cr18Ni9Ti
1Cr18Ni12Mo2Ti
4
阀体
2铬13
1Cr18Ni9Ti
1Cr18Ni12Mo2Ti
5
光碟
2Cr13/2Cr13+PTFE
1Cr18Ni9Ti/1Cr18Ni9Ti+PTFE
1Cr18Ni12Mo2Ti
6
弹簧座
2铬13
1Cr18Ni9Ti
1Cr18Ni12Mo2Ti
7
弹簧
50CrVA
50CrVAencapsulation氟塑料
50CrVAencapsulation氟塑料
8
锁紧螺母
Q235-A
ZG230-450
1Cr18Ni9Ti
9
弹簧导板
2铬13
1Cr18Ni9Ti
1Cr18Ni12Mo2Ti
10
调节螺母
Q235-A
2铬13
1Cr18Ni12Mo2Ti
密封面材料
“y”型堆焊Co基硬质合金,“h”型堆焊D507,“w”型是阀体
相关产品
空气压缩机a28h安全阀
安全回流阀AH42F
铸钢A21F-16C安全阀
4L-20-8活塞机安全阀
埃弗斯弹簧式安全阀A28X-16T
永一春式FA72W安全阀
a27w-10t弹簧式安全阀
连体拉环空气压缩机安全阀









