基本参数
- 产地广东
- 品牌
- 产品型号
- 产品操作
- 产品应用范围
- 产品材料等级
- 产品表面处理
产品简介:
产品详情:AQ不锈钢空压机安全阀-AQ不锈钢空压机安全阀,不锈钢安全阀,生产安全阀制造商
AQ不锈钢空气压缩机安全阀
品牌:富山/永一/罗浮
型号:aq
压力:1.6MPa
材料:不锈钢
围观人数:622
我公司提供定制服务>点击检视<
产品详情
产品详情:
该阀适用于工作温度≤200℃的空气。它是用以空气压缩机的特别安全阀。当装置中的压力超过允许值时,阀门将自动敞开,然后全然排出。当压力降至指定值时,阀门将自动关闭以保证装置安全运转。
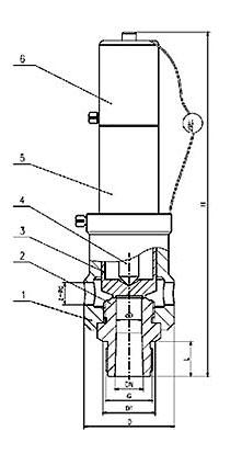
主要零件材质:AQ不锈钢空压机安全阀,不锈钢安全阀,生产安全阀制造商
NO。
零件名称
AQ-20材料
1个
阀体
2铬13
2
阀座
2铬13
3
光碟
2铬13
4
干
2铬13
5
帽
ZG230-450
6
帽子
ZG230-450
尺寸和连接尺寸:AQ不锈钢空压机安全阀,不锈钢安全阀,生产安全阀制造商
公称通径
尺寸
do
g
d
D1
-
大号
h
20
17
G1”
62
44
4-17
25
220
25
20
M36×2
70
50
4-20
28
226
相关产品
4L-20-8活塞机安全阀
a27w-10t弹簧式安全阀
铸钢A28H-16C安全阀
弹簧式A42F安全阀
安全回流阀AH42F
全铜a28h-16t安全阀
空气压缩机安全阀AK28W/X2-16T
A21F大连国立安全阀









